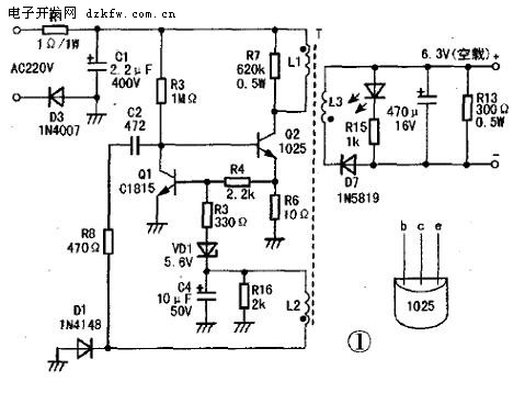
一、電路原理
在早期的手機通用充電器電路設計時,由于考慮到鋰電池與鎳氫電池充電特點的不同(鋰電池充電電壓為4.2V-4.4V,鎳氫電池充電電壓為4.3V-4.5V,且在給鎳氫電池充電前,應先放電,以防止出現記憶效應)因此充電器電路比較復雜,一般由開關電源、基準電壓、充電控制、放電控制和充電指示等電路組成,且基準電壓、充電指示及充、放電控制電路多由運算放大器控制。近年來,由于絕大多數手機采用鋰電池,加之出于制造成本考慮,通用型手機充電器的電路已非常簡單,實為一簡單的自激式開關電源電路。圖1為一款諾基亞手機通用充電器實繪電路。
AC220V電壓經D3半波整流、C1濾波后得到約+300V電壓,一路經開關變壓器T初級繞組L1加到開關管Q2 c極,另一路經啟動電阻R3加到Q2 b極,Q2進入微導通狀態,L1中產生上正下負的感應電動勢,則L2中產生上負下正的感應電動勢。L2中的感應電動勢經R8、C2正反饋至Q2 b極,Q2迅速進入飽和狀態。在Q2飽和期間,由于L1中電流近似線性增加,則L2中產生穩定的感應電動勢。此電動勢經R8、R6、Q2的b-e結給C2充電,隨著C2的充電,Q2 b極電壓逐漸下降,當下降至某值時,Q2退出飽和狀態,流過L1中的電流減小,L1、L2中感應電動勢極性反轉,在R8、C2的正反饋作用下,Q2迅速由飽和狀態退至截止狀態。這時,+300V 電壓經R3、R8、L2、R16對C2反向充電,C2右端電位逐漸上升,當升至一定值時,在R3的作用下,Q2再次導通,重復上述過程,如此周而復始,形成自激振蕩。在Q2導通期間,L3中的感應電動勢極性為上負下正,D7截止;在Q2截止期間,L3中的感應電動勢極性為上正下負,D7導通,向外供電。
圖1中,VD1、Q1等元件組成穩壓電壓。若輸出電壓過高,則L2繞組的感應電壓也將升高,D1整流、C4濾波所得電壓升高。由于VD1兩端始終保持5.6V的穩壓值,則Q1 b極電壓升高,Q1導通程序加深,即對Q2 b極電流的分流作用增強,Q2提前截止,輸出電壓下降 若輸出電壓降低,其穩壓控制過程與上述相反。
另外,R6、R4、Q1組成過流保護電路。若流過Q2的電流過大時,R6上的壓降增加,Q1導通,Q2截止,以防止Q2過流損壞。
二、常見故障檢修
在該類充電器中,初級電路故障率較高,其常見故障現象為:次級無輸出,R1燒焦。
從實修情況看,R1燒焦、開路常系Q2擊穿所致,并伴有R6開路損壞。Q2擊穿的主要原因是該類充電器散熱空間較小且密閉,加之充電器長時間工作,Q2溫度過高而熱擊穿。因此,建議在該充電器外殼上開幾個孔,以利散熱,并將Q2換為E13003(400V/1.5A/40W ),以增強電路的可靠性。
另外,L1繞組局部短路(正常時,L1繞組的直流電阻為5.5Ω~6Ω)、R7開路也會導致Q2損壞。
若更換Q2后,雖次級輸出正常,但Q2發熱嚴重.這時可適當增大或減小R8的阻值,以調節反饋量,使Q2工作正常,若R1、Q2、R6等元件正常,但次級無輸出,其常見原因為R3開路。
正常工作時,C4兩端電壓約為6.2v,Q1、Q2的實測值見表1。
| 位號 | 引腳 | 電壓(V) | 在路電阻(kΩ) 紅表筆 |
在路電阻(kΩ) 黑表筆 |
| Q1 | e | 0 | 0 | 0 |
| Q1 | b | 0.6 | 2 | 2 |
| Q1 | c | 0.1 | 13 | 13 |
| Q2 | e | 0 | 0.01 | 0.01 |
| Q2 | b | 0.1 | 13 | 13 |
| Q2 | c | 310 | 105 | 58 |


返回頂部
刷新頁面
下到頁底