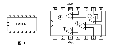
LM339集成塊采用C-14型封裝,圖1為外型及管腳排列圖。由于LM339使用靈活,應用廣泛,所以世界上各大IC生產廠、公司竟相推出自己的四比較器,如IR2339、ANI339、SF339等,它們的參數基本一致,可互換使用。

LM339類似于增益不可調的運算放大器。每個比較器有兩個輸入端和一個輸出端。兩個輸入端一個稱為同相輸入端,用“+”表示,另一個稱為反相輸入端,用“-”表示。用作比較兩個電壓時,任意一個輸入端加一個固定電壓做參考電壓(也稱為門限電平,它可選擇LM339輸入共模范圍的任何一點),另一端加一個待比較的信號電壓。當“+”端電壓高于“-”端時,輸出管截止,相當于輸出端開路。當“-”端電壓高于“+”端時,輸出管飽和,相當于輸出端接低電位。兩個輸入端電壓差別大于10mV就能確保輸出能從一種狀態可靠地轉換到另一種狀態,因此,把LM339用在弱信號檢測等場合是比較理想的。LM339的輸出端相當于一只不接集電極電阻的晶體三極管,在使用時輸出端到正電源一般須接一只電阻(稱為上拉電阻,選3-15K)。選不同阻值的上拉電阻會影響輸出端高電位的值。因為當輸出晶體三極管截止時,它的集電極電壓基本上取決于上拉電阻與負載的值。另外,各比較器的輸出端允許連接在一起使用。
單限比較器電路
圖2a給出了一個基本單限比較器。輸入信號Uin,即待比較電壓,它加到同相輸入端,在反相輸入端接一個參考電壓(門限電平)Ur。當輸入電壓Uin>Ur時,輸出為高電平UOH。圖2b為其傳輸特性。
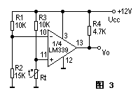
圖3為某儀器中過熱檢測保護電路。它用單電源供電,1/4LM339的反相輸入端加一個固定的參考電壓,它的值取決于R1于R2。UR=R2/(R1+R2)*UCC。同相端的電壓就等于熱敏元件Rt的電壓降。當機內溫度為設定值以下時,“+”端電壓大于“-”端電壓,Uo為高電位。當溫度上升為設定值以上時,“-”端電壓大于“+”端,比較器反轉,Uo輸出為零電位,使保護電路動作,調節R1的值可以改變門限電壓,既設定溫度值的大小。
遲滯比較器
遲滯比較器又可理解為加正反饋的單限比較器。前面介紹的單限比較器,如果輸入信號Uin在門限值附近有微小的干擾,則輸出電壓就會產生相應的抖動(起伏)。在電路中引入正反饋可以克服這一缺點。
圖4a給出了一個遲滯比較器,人們所熟悉的“史密特”電路即是有遲滯的比較器。圖4b為遲滯比較器的傳輸特性。
不難看出,當輸出狀態一旦轉換后,只要在跳變電壓值附近的干擾不超過ΔU之值,輸出電壓的值就將是穩定的。但隨之而來的是分辨率降低。因為對遲滯比較器來說,它不能分辨差別小于ΔU的兩個輸入電壓值。遲滯比較器加有正反饋可以加快比較器的響應速度,這是它的一個優點。除此之外,由于遲滯比較器加的正反饋很強,遠比電路中的寄生耦合強得多,故遲滯比較器還可免除由于電路寄生耦合而產生的自激振蕩。
如果需要將一個跳變點固定在某一個參考電壓值上,可在正反饋電路中接入一個非線性元件,如晶體二極管,利用二極管的單向導電性,便可實現上述要求。圖5為其原理圖。
圖6為某電磁爐電路中電網過電壓檢測電路部分。電網電壓正常時,1/4LM339的U4<2.8V,U5=2.8V,輸出開路,過電壓保護電路不工作,作為正反饋的射極跟隨器BG1是導通的。當電網電壓大于242V時,U4>2.8V,比較器翻轉,輸出為0V,BG1截止,U5的電壓就完全決定于R1與R2的分壓值,為2.7V,促使U4更大于U5,這就使翻轉后的狀態極為穩定,避免了過壓點附近由于電網電壓很小的波動而引起的不穩定的現象。由于制造了一定的回差(遲滯),在過電壓保護后,電網電壓要降到242-5=237V時,U4<U3,電磁爐才又開始工作。這正是我們所期望的。
雙限比較器(窗口比較器)
圖7電路由兩個LM339組成一個窗口比較器。當被比較的信號電壓Uin位于門限電壓之間時(UR1<Uin<UR2),輸出為高電位(UO=UOH)。當Uin不在門限電位范圍之間時,(Uin>UR2或Uin<UR1)輸出為低電位(UO=UOL),窗口電壓ΔU=UR2-UR1。它可用來判斷輸入信號電位是否位于指定門限電位之間。
用LM339組成振蕩器
圖8為有1/4LM339組成的音頻方波振蕩器的電路。改變C1可改變輸出方波的頻率。本電路中,當C1=0.1uF時。f=53Hz;當C1=0.01uF時,f=530Hz;當C1=0.001uF時,f=5300Hz。
LM339還可以組成高壓數字邏輯門電路,并可直接與TTL、CMOS電路接口。


返回頂部
刷新頁面
下到頁底