直流發電機的工作原理就是把電樞線圈中感應的交變電動勢,靠換向器配合電刷的換向作用,使之從電刷端引出時變為直流電動勢的原理。
圖1.1是一臺交流發電機的原理模型。圖中,
、
為一對固定的磁極(一般是電磁鐵,也可以是永久磁鐵),
是裝在可以轉動的圓柱體表面上的一個線圈,把線圈的兩端分別接到兩個圓環(稱為滑環)上(以后把這個可以轉動的裝有線圈的圓柱體稱為電樞)。在滑環上分別放上兩個固定不動的由石墨制成的電刷
和
。通過電刷
和
把旋轉著的電路與外部電路相聯接。

圖1.1 交流發電機原理模型
1—磁極;2—電樞;3—滑環;4—電刷
當原動機拖動電樞以恒速
逆時針方向轉動時,根據電磁感應定律可知,在線圈邊(即導體)
和
中有感應電動勢產生。感應電動勢
的大小用式(1.1)確定。
(1.1)
——導體
或
的長度(
);
&upSILon; ——導體
或
與
之間的相對線速度(
)。
感應電動勢的方向按右手定則確定。在圖2.1所示瞬間,導體
、
的感應電動勢方向分別由
指向
和由
指向
。這時電刷
呈高電位,電刷
呈低電位。當圖1.1中電樞逆時針方向轉過180°時,導體
與
互換了位置,用右手定則判斷,此時導體
、
中的感應電動勢方向都與圖1.1所示瞬間的相反。這時電刷A呈低電位,電刷B呈高電位。如果電樞繼續逆時針方向旋轉180°,導體
、
又轉到圖1.1所示位置,則電刷
又呈高電位,電刷
呈低電位。由此可見,圖1.1中電樞每轉一周,線圈
中感應電動勢方向交變一次,因此線圈內的感應電動勢是一種交變電動勢,這是最簡單的交流發電機的原理。
如果想要得到直流電動勢,那么必須把上述線圈
感應的電動勢進行整流,實現整流的裝置稱之為換向器。
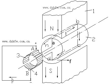
圖2.2是直流發電機的原理模型,它由兩個銅質換向片代替圖1.1中的兩個滑環。換向片之間用絕緣材料隔開,線圈
出線端分別與兩個換向片相連,電刷
、
與換向片相接觸并固定不動,這就是最簡單的換向器。有了換向器,在電刷
、
之間感應電動勢就和圖1.1中電刷
、
間的電動勢大不一樣了。例如,在圖2.2所示瞬間,線圈
中感應電動勢的方向如圖中所示,這時電刷
呈正極性,電刷
呈負極性。當線圈逆時針方向旋轉180°時,這時導體
位于
極下,導體
位于
極下,各導體中電動勢都分別改變了方向。但是,由于換向片隨著線圈一同旋轉,本來與電刷
相接觸的那個換向片,現在卻與電刷
接觸了;與電刷
相接觸的換向片與電刷
接觸了,顯然這時電刷
仍呈正極性,電刷
呈負極性。從圖1.2看出,和電刷
接觸的導體永遠位于
極下,同樣,和電刷
接觸的導體永遠位于
極下。因此,電刷
始終有正極性,電刷
始終有負極性,所以電刷端能引出方向不變的但大小變化的脈振電動勢。如果電樞上線圈數增多,并按照一定的規律把它們連接起來,可使脈振程度減小,就可獲得直流電動勢。這就是直流發電機的工作原理。同時也說明了直流發電機實質上是帶有換向器的交流發電機。

圖1.2 直流發電機的原理模型
圖1.3 直流電動機的原理模型
1—磁極;2—電樞;3—換向器;4—電刷 1—磁極;2—電樞;3—換向器;4—電刷


返回頂部
刷新頁面
下到頁底