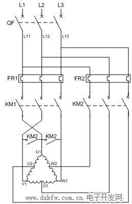
低速時運行KM1吸合,此時電機為四極電機,轉速在1500左右。高速時,KM2,KM3同時吸合,電機為2極電機,轉速成在3000轉左右。
低速時 高速時
雙速電動機屬于異步電動機變極調速,是通過改變定子繞組的連接方法達到改變定子旋轉磁場磁極對數,從而改變電動機的轉速。 根據公式;n1=60f/p可知異步電動機的同步轉速與磁極對數成反比,磁極對數增加一倍,同步轉速n1下降至原轉速的一半,電動機額定轉速n也將下降近似一半,所以改變磁極對數可以達到改變電動機轉速的目的。這種調速方法是有級的,不能平滑調速,而且只適用于鼠籠式電動機。
此圖介紹的是最常見的單繞組雙速電動機,轉速比等于磁極倍數比,如2極/4極、4級/8極,從定子繞組△接法變為YY接法,磁極對數從p=2變為p=1。
∴轉速比=2/1=2


返回頂部
刷新頁面
下到頁底