文章描述了鎳氫電池充放電原理和特性的分析,并根據鎳氫電池充放電管理需求,提出了一種基于C8051F單片機對多節鎳氫電池串聯電池組進行綜合監測和管理的方案,通過設計:實現了新型電池管理電路,包括完整的硬件和軟件解決方案。
隨著中國煤炭工業的發展和礦山裝備技術的進步,我國對煤礦甲烷安全監控系統,運輸監控系統,應急救援系統等使用的后備電源的設備要求越來越高,尤其是其安全特性。作為煤礦用后備電源的重要的組成之一,鎳氫電池無論在安全性上,還是可靠性,成本等方面,都具有較大優勢。鎳氫電池組是一個串聯的組成系統,其中任何單節電池損壞必將影響整個電池組,如何在保證鎳氫電池安全性能的同時,發揮電池自身最大的能量效率,這是礦用鎳氫電池管理系統研究和設計的方向。
1 鎳氫電池充放電原理
鎳氫電池(金屬氫化物鎳蓄電池)采用儲氫合金,在充電的時候可以存儲數大量的氫氣形成金屬氫化物,將電能轉換為化學能;放電的時候又能將存儲的氫氣釋放,將化學能轉換為電能。其基本電化學反應為:Ni(OH)2+M〈=〉NiOH+MHab(式中:M為儲氫合金,Hab為吸收的氫氣)。
在電池充電后期和充電結束時,還伴隨發生下列反應:

基于以上3個電化學反應,鎳氫電池的充放電表現如下特性:
1)充電電流取決于電池容量C。充電電流過大會使電池內部壓力升高較快,電池自身的安全閥打開,電池漏液,引起安全問題。在設計中,充電電流宜取0.1C。
2)電池充電飽和后,極板上的物質已經全部中和,電池電壓不再上升而是略有下降。此時,若繼續大電流充電,將會大大影響電池的壽命,此時的電壓稱為充電終止電壓,一般單節電池不超過1.5 V。充電終止電壓與電流充電率、環境溫度、電池生產工藝等因素有關。
3)電池放電結束后,極板上的活性物質已經全部消耗。如果繼續對外放電,會造成負極析出的氫氣無法中和,電池內部壓力上升,安全閥打開,對外析氫,引起安全問題。
20節串聯鎳氫電池的充放電曲線如圖1所示。

圖1 鎳氫電池組充放電曲線
根據鎳氫電池的充放電特性,設計了一種新型的智能型鎳氫電池組管理電路,能夠支持多達20節鎳氫電池串聯的電池組管理,能夠實現對單節電池和整體電池組的有效檢測與控制,可以更高效,更安全的完成鎳氫電池的充放電管理功能。
2 鎳氫電池管理系統硬件設計
采用由恒流充電電路,實時電壓檢測電路,CPU控制電路和其他外圍電路共同構成的鎳氫電池充放電管理系統。
1)恒流充電電路
恒流充電電路采用閉環控制和脈沖調制方式實現充電電流的恒流負反饋控制。充電電路原理圖如圖2所示。

圖2 充電電路原理圖
CPU輸出占空比可調的PWM信號,控制NPN三極管5551的通斷,最終實現對場效應管通斷的控制,達到電流控制的目的。同時CPU實時檢測當前電流值,并根據實時電流值閉環調節PWM信號的占空比,從而實現充電電流的恒流閉環調節。
在一個PWM周期中,當PWM信號為高時,低邊NPN三極管5551導通,使高邊NPN三極管5551基極拉低,三極管關斷,場效應管門級變為低電平,場效應管關斷;當PWM信號為低時,低邊NPN三極管5551關斷,高邊NPN三極管5551被上拉電阻拉高,三極管導通,場效應管門級變為高電平,場效應管導通;在每一個PWM周期中,重復以上過程。
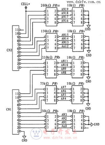
2)實時電壓檢測電路
針對煤礦產品的特點,鎳氫電池充放電管理系統應至少能夠實現對20節串聯電池組中任一單節電池的實時進行監控。要求檢測電壓范圍寬,精度高,響應時間快等一系列特點,因此,必須對20節電池進行同時測量,減少實時誤差,并通過內部軟件校正實現測量精度要求。測量電路原理圖如3所示。

圖3 實時電壓檢測電路原理圖
20節電池電壓經過不同阻值的分壓電阻,進入CPU進行AD轉換,得到不同AD采樣值,再通過內部軟件恢復出實際的電壓值,相鄰電壓值之差即是單節電池電壓。
系統設計了5組分壓電阻,實現了從1/3到1/20共5組分壓比。針對不同的電池電壓,將分壓后的電壓數據盡可能的包含在AD采樣的滿量程內,提高了AD采樣的精度。簡化AD外圍電路,不經過運算放大器進行放大,直接進入CPU的模擬采樣端口,消除了由外部器件差異引入的采樣誤差;通過CPU對模擬端口同時采樣,消除了由采樣時間差異引入的時差誤差。
CPU選用的是Silicon公司推出的8051F5XX系列CPU,它內部包括一個12 bit的ADC,且支持多達32個單端輸入,完全符合系統設計要求。
3 鎳氫電池管理系統軟件設計
軟件設計考慮到采集單節電池電壓、實時電流、電池溫度、記錄充電時間以及電壓變化量等參數,綜合判斷當前電池狀態,控制電池充放電啟動和結束,并實時檢測是否有單節電池異常、短路、溫度異常、放電大電流、充電大電流等多種異常情況,對外輸出電池基本狀態信息和報警信號。軟件按功能可分為PWM控制模塊、計時模塊以及電壓檢測、電流檢測、溫度檢測模塊等幾部分。
管理系統工作時,CPU首先判斷是否外接負載(放電)或外接電源(充電)。當檢測到外接負載時,系統打開放電場效應管,鎳氫電池對外放電。在放電過程中,CPU不斷檢測放電電流和單節電池電壓,當監測到過高的放電電流或負載短路時,CPU立即關斷放電回路,并持續對外報警;當監測到單節電池電壓低于額定門限(1.0 V)時,CPU立即關斷放電回路。
當管理系統檢測到外接電源時,系統進入充電狀態。CPU輸出PWM波形控制充電場效應管,并不斷檢測充電電流,實時進行閉環調節,實現充電恒流控制目的。在放電過程中,CPU不斷檢測充電電流和單節電池電壓,當監測到過高的充電電流或負載短路時,CPU立即關斷充電回路,并持續對外報警;當監測到單節電池電壓高于額定門限(1.5 V)時,CPU立即關斷充電回路。
系統軟件的核心部分為AD數據處理和PWM閉環控制兩個模塊。下面給出這兩部分的相應程序,編譯環境為Silicon Laboratories IDE。
AD數據處理模塊程序代碼,以充電電流數據濾波處理為例:



4 結論
設計了一款基于C8051F的鎳氫電池管理系統,支持最高20節鎳氫電池串聯電池組,能夠實時檢測每一只單體電池電壓,充放電電流等參數。通過簡化外部采樣電路,使用高精度ADC和CPU內部參考電平,通過優化軟件參數和濾波算法,在實際工程應用中達到了0.01 V的采樣精度,誤差≤1 mV。建立了電池組管理系統電路的設計模型,在實際應用中,根據電池的不同類型和使用工況條件仍需要進一步完善和研究。


返回頂部
刷新頁面
下到頁底