市場上盛行的電子高壓滅蚊手拍(簡稱“電蚊拍”),以其實用、滅蚊效果好、無化學污染、安全衛生等優點,普遍受到人們的歡迎。其實這種電滅蚊拍線路簡單,具有一定電子制作能力的青少年朋友,在業余條件下就能夠仿造出來,而且造價僅為市售成品價格的1/3至1/5。
現在正是蚊子猖狂的夏天,同學們放暑假有的是時間,何不馬上行動起來自己動手制做一把“電蚊拍”?有了它,保管讓家中的蚊子死個光,全家人安安穩穩睡好覺!
一、工作原理
電蚊拍的電路如圖1所示,它主要由高頻振蕩電路、三倍壓整流電路和高壓電擊網DW三部分組成。

當按下電源開關SB時,由三極管VT和變壓器T構成的高頻振蕩器通電工作,把3V直流電變成18kHz左右的高頻交流電,經T升壓到約500V(L3兩端實測),再經二極管VD2~VD4、電容器C1~C3三倍壓整流升高到1500V左右,加到蚊拍的金屬網DW上。當蚊蠅觸及金屬網絲時,蟲體造成電網短路,即會被電流、電弧殺灼或擊暈、擊斃。
電路中,發光二極管VD1和限流電阻器R1構成指示燈電路,用來指示電路通斷狀態及顯示電池電能的耗損情況。
二、元器件選擇
晶體管VT選用2N5609型硅NPN中功率三極管,亦可用8050、9013型等常用三極管代替。VD1用φ3mm紅色發光二極管,VD2~VD4用1N4007型硅整流二極管。
R1~R3均用RTX-1/8W型碳膜電阻器。C1~C3一律用CL11-630V型滌綸電容器,SB用6mm×6mm立式微型輕觸開關。G用5號干電池兩節串聯(配塑料電池架)而成,電壓3V。
高頻變壓器T須自制:選用2E19型鐵氧體磁芯及配套塑料骨架,L1用φ0.22mm漆包線繞22匝,L2用同號線繞8匝,L3用φ0.08mm漆包線繞1400匝左右。注意圖中黑點為同名端,頭尾順序繞,繞組間墊一、二層薄絕緣紙。
三、制作與使用
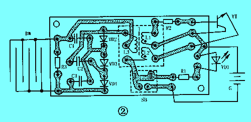
圖2所示為該電蚊拍的印制電路板焊接圖。印制電路板最好采用環氧基質單面銅箔板制作,實際尺寸約為56mm×28mm。

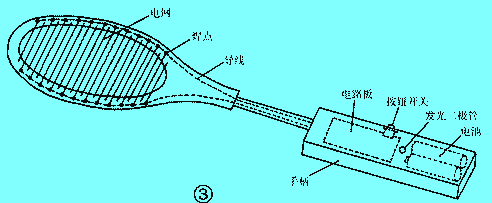
整個電蚊拍可用舊的非金屬羽毛球拍作骨架組裝。拆掉羽毛球拍上原有的網線和手柄,按圖3所示用φ1mm左右鍍鋅鐵絲在球拍上平行布線,間距不大于4mm。兩組網線可有意布在不同平面上,這樣可避免因人手誤碰網線而發生的電擊現象,但對電擊蚊蠅效果無影響。另用180mm×35mm×20mm塑料盒或φ35mm×180mm硬塑料管加工制成手柄,將電路板、電池架裝入,并在合適位置處開孔固定按鈕開關SB和發光二極管VD1。最后用熱熔膠固定網拍,把網拍兩電極引線焊在電路板上R3兩端即成。只要焊裝正確無誤,無須任何調試便可投入使用。
使用時,手握網拍把柄,按下按鈕開關,像使用普通蚊蠅拍一樣揮拍,讓網面觸及飛動的蚊子(或蒼蠅、飛蛾),即可迅速將其擊斃。該電蚊拍耗電省,工作電流實測約120mA左右,每換一次新電池可使用數月。由于其輸出功率有限(瞬間短路電流實測≤1.5mA),故對人及寵物絕對安全。當人體不慎觸及網面時,僅會發生局部短暫麻刺。但注意不要在嚴禁煙火的場所或水中使用。當網面上粘有殘余蟲骸時,可用毛刷清除或直接抖落,勿用濕布或水擦洗,必要時可用棉花浸酒精清擦。

現在正是蚊子猖狂的夏天,同學們放暑假有的是時間,何不馬上行動起來自己動手制做一把“電蚊拍”?有了它,保管讓家中的蚊子死個光,全家人安安穩穩睡好覺!
一、工作原理
電蚊拍的電路如圖1所示,它主要由高頻振蕩電路、三倍壓整流電路和高壓電擊網DW三部分組成。

當按下電源開關SB時,由三極管VT和變壓器T構成的高頻振蕩器通電工作,把3V直流電變成18kHz左右的高頻交流電,經T升壓到約500V(L3兩端實測),再經二極管VD2~VD4、電容器C1~C3三倍壓整流升高到1500V左右,加到蚊拍的金屬網DW上。當蚊蠅觸及金屬網絲時,蟲體造成電網短路,即會被電流、電弧殺灼或擊暈、擊斃。
電路中,發光二極管VD1和限流電阻器R1構成指示燈電路,用來指示電路通斷狀態及顯示電池電能的耗損情況。
二、元器件選擇
晶體管VT選用2N5609型硅NPN中功率三極管,亦可用8050、9013型等常用三極管代替。VD1用φ3mm紅色發光二極管,VD2~VD4用1N4007型硅整流二極管。
R1~R3均用RTX-1/8W型碳膜電阻器。C1~C3一律用CL11-630V型滌綸電容器,SB用6mm×6mm立式微型輕觸開關。G用5號干電池兩節串聯(配塑料電池架)而成,電壓3V。
高頻變壓器T須自制:選用2E19型鐵氧體磁芯及配套塑料骨架,L1用φ0.22mm漆包線繞22匝,L2用同號線繞8匝,L3用φ0.08mm漆包線繞1400匝左右。注意圖中黑點為同名端,頭尾順序繞,繞組間墊一、二層薄絕緣紙。
三、制作與使用
圖2所示為該電蚊拍的印制電路板焊接圖。印制電路板最好采用環氧基質單面銅箔板制作,實際尺寸約為56mm×28mm。

整個電蚊拍可用舊的非金屬羽毛球拍作骨架組裝。拆掉羽毛球拍上原有的網線和手柄,按圖3所示用φ1mm左右鍍鋅鐵絲在球拍上平行布線,間距不大于4mm。兩組網線可有意布在不同平面上,這樣可避免因人手誤碰網線而發生的電擊現象,但對電擊蚊蠅效果無影響。另用180mm×35mm×20mm塑料盒或φ35mm×180mm硬塑料管加工制成手柄,將電路板、電池架裝入,并在合適位置處開孔固定按鈕開關SB和發光二極管VD1。最后用熱熔膠固定網拍,把網拍兩電極引線焊在電路板上R3兩端即成。只要焊裝正確無誤,無須任何調試便可投入使用。
使用時,手握網拍把柄,按下按鈕開關,像使用普通蚊蠅拍一樣揮拍,讓網面觸及飛動的蚊子(或蒼蠅、飛蛾),即可迅速將其擊斃。該電蚊拍耗電省,工作電流實測約120mA左右,每換一次新電池可使用數月。由于其輸出功率有限(瞬間短路電流實測≤1.5mA),故對人及寵物絕對安全。當人體不慎觸及網面時,僅會發生局部短暫麻刺。但注意不要在嚴禁煙火的場所或水中使用。當網面上粘有殘余蟲骸時,可用毛刷清除或直接抖落,勿用濕布或水擦洗,必要時可用棉花浸酒精清擦。



返回頂部
刷新頁面
下到頁底