惠斯登電橋,電阻的測量
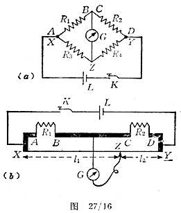
在圖27/16(a)所示線路中,按下K,調整R1,R2,R3和R4使檢流計無偏轉,從基爾霍夫定律可以得到R1/R2=R3/R4,當已知其中的三個電阻時,就能確定第四個電阻。

這就是“惠斯登網絡原理”,它在電測量中應用極廣,例如惠斯登電橋,見圖27/16(b)。其中XY是一段均勻導線(即dR/dL不變),A、B、C和D為如圖所示的用裸銅片連接的電接頭,R1和R2分別接在AB和CD之間,BC的中點通過檢流計接至滑動觸頭Z。比較27/16(a)和(b)可以證明:導線XZ相當于R3,ZY相當于R4,當Z被置于使G無偏轉的位置時,有
R1/R2=XZ的電阻/ZY的電阻
對于均勻導線,上式右邊為它們的長度之比,故有
R1/R2=L1/L2
這樣,若已知R1和R2中的一個,就能確定另一個。通常選一只標準電阻作R2,按照
R1=R2(L1/L2)就可以確定R1。


返回頂部
刷新頁面
下到頁底