導讀
西門子S7-1200是一款緊湊型、模塊化的PLC,可完成簡單邏輯控制、高級邏輯控制、HMI 和網絡通信等任務。對于需要網絡通信功能和單屏或多屏HMI的自動化系統,易于設計和實施。具有支持小型運動控制系統、過程控制系統的高級應用功能。SIMATIC S7-1200 具有用于進行計算和測量、閉環回路控制和運動控制的集成技術,是一個功能非常強大的系統,可以實現多種類型的自動化任務。下面分享S7-1200系列PLC全套接線圖給大家,收藏起來慢慢看!
01S7-1200輸入輸出接線圖
CPU 1211C 接線圖
CPU 1211C AC/DC/繼電器 (6ES7 211-1BE40-0XB0)
① 24 VDC 傳感器電源
② 對于漏型輸入將負載連接到“-”端(如圖示);對于源型輸入將負載連接到“+”端
CPU 1211C DC/DC/繼電器 (6ES7 211-1HE40-0XB0)
① 24 VDC 傳感器電源
② 對于漏型輸入將負載連接到“-”端(如圖示);對于源型輸入將負載連接到“+”端
CPU 1211C DC/DC/DC (6ES7 211-1AE40-0XB0)
① 24 VDC 傳感器電源
② 對于漏型輸入將負載連接到“-”端(如圖示);對于源型輸入將負載連接到“+”端
CPU 1212C 接線圖
CPU 1212C AC/DC/繼電器 (6ES7 212-1BE40-0XB0)
① 24 VDC 傳感器電源
② 對于漏型輸入將負載連接到“-”端(如圖示);對于源型輸入將負載連接到“+”端
CPU 1212C DC/DC/繼電器 (6ES7 212-1HE40-0XB0)
① 24 VDC 傳感器電源
② 對于漏型輸入將負載連接到“-”端(如圖示);對于源型輸入將負載連接到“+”端
CPU 1212C DC/DC/DC (6ES7 212-1AE40-0XB0)
① 24 VDC 傳感器電源
② 對于漏型輸入將負載連接到“-”端(如圖示);對于源型輸入將負載連接到“+”端
CPU 1214C 接線圖
CPU 1214C AC/DC/繼電器 (6ES7 214-1BG40-0XB0)
① 24 VDC 傳感器電源
② 對于漏型輸入將負載連接到“-”端(如圖示);對于源型輸入將負載連接到“+”端
CPU 1214C DC/DC/繼電器 (6ES7 214-1HG40-0XB0)
① 24 VDC 傳感器電源
② 對于漏型輸入將負載連接到“-”端(如圖示);對于源型輸入將負載連接到“+”端
CPU 1214C DC/DC/DC (6ES7 214-1AG40-0XB0)
① 24 VDC 傳感器電源
② 對于漏型輸入將負載連接到“-”端(如圖示);對于源型輸入將負載連接到“+”端
CPU 1215C 接線圖
CPU 1215C AC/DC/繼電器 (6ES7 215-1BG40-0XB0)
① 24 VDC 傳感器電源
② 對于漏型輸入將負載連接到“-”端(如圖示);對于源型輸入將負載連接到“+”端
CPU 1215C DC/DC/繼電器 (6ES7 215-1HG40-0XB0)
① 24 VDC 傳感器電源
② 對于漏型輸入將負載連接到“-”端(如圖示);對于源型輸入將負載連接到“+”端
CPU 1215C DC/DC/DC (6ES7 215-1AG40-0XB0)
① 24 VDC 傳感器電源
② 對于漏型輸入將負載連接到“-”端(如圖示);對于源型輸入將負載連接到“+”端
CPU 1217C 接線圖
CPU 1217C DC/DC/DC (6ES7 217-1AG40-0XB0)
① 24 VDC 傳感器電源
② 對于漏型輸入將負載連接到“-”端(如圖示);對于源型輸入將負載連接到“+”端
③ 5V差分信號輸入
④ 5V差分信號輸出
常見問題
1217C的 5V差分信號能不能當普通的DI/DO點使用?
答:不能。詳情可見《 S7-1200 系統手冊 》的附錄
S7-1200 CPU 自帶模擬量輸入通道能否接入 0-20mA 電流信號?怎么接線?
答:S7-1200 自帶模擬量輸入通道支持 0-10 V 電壓信號。如果需要接 0-20mA 電流信號, 可并聯 1個 500ohm 的電阻。
注意:使用 500Ω 電阻時,必須注意這種測量方式的功率消耗。并確保電阻兩端外加 DC 24 V 電壓時,電阻功率消耗至少為 1.16 W。同時, 此方法精度無法保證。
以 S7-1200 自帶模擬量輸入通道接入常用的兩線制傳感器 4-20mA 電流信號為例, 如下圖:
02數字量信號模塊輸入輸出接線圖
SM 1221 數字量輸入
對于漏型輸入將“-”連接到“M”(如圖示);對于源型輸入將“+”連接到“M”
SM 1222 數字量輸出
SM1222 DQ 8 繼電器切換模塊使用公共端子控制兩個電路:一個常閉觸點和一個常開觸點。
例如輸出"0",當輸出點斷開時,公共端子 (0L) 與常閉觸點 (.0X) 相連并與常開觸點 (.0) 斷開。當輸出點接通時,公共端子 (0L) 與常閉觸點 (.0X) 斷開并與常開觸點 (.0) 相連。
SM 1223 數字量輸入/輸出
對于漏型輸入將負載連接到“-”端(如圖示);對于源型輸入將負載連接到“+”端
SM 1223 也有交流電壓輸入、繼電器輸出的模塊, 如下所示:
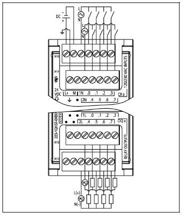
SM 1223 DI 8 x 120/230 VAC,DQ 8 x 繼電器 (6ES7 223-1QH32-0XB0)
數字量信號板
通過信號板 (SB, Signal Board) 可以給 CPU 增加 I/O。提供所有 SIMATIC S7-1200 控制器的低成本有效擴展,同時保持原有空間, SB 連接在 CPU 的前端。
SB 1221 200KHZ數字量輸入接線
僅支持源型輸入
SB 1222 200KHZ數字量輸出接線
對于源型輸出將負載連接到“-”端(如圖示);對于漏型輸出將負載連接到“+”端
SB 1223 200KHZ數字量輸入/輸出接線
① 僅支持源型輸入
② 對于源型輸出將負載連接到“-”端(如圖示);對于漏型輸出將負載連接到“+”端
SB 1223 數字量輸入/輸出接線
僅支持漏型輸入
源型/漏型輸入接線說明
支持源型輸入的信號板:
6ES7 221-3BD30-0XB0
6ES7 221-3AD30-0XB0
6ES7 223-3BD30-0XB0
6ES7 223-3AD30-0XB0
支持漏型輸入的信號板:
6ES7 223-0BD30-0XB0
支持源型輸入的信號模板:
6ES7 221-1BF32-0XB0
6ES7 221-1BH32-0XB0
6ES7 223-1PH32-0XB0
6ES7 223-1PL32-0XB0
6ES7 223-1BH32-0XB0
6ES7 223-1BL32-0XB0
支持漏型輸入的信號模板:
6ES7 221-1BF32-0XB0
6ES7 221-1BH32-0XB0
6ES7 223-1PH32-0XB0
6ES7 223-1PL32-0XB0
6ES7 223-1BH32-0XB0
6ES7 223-1BL32-0XB0
可以參考 《 S7-1200 系統手冊》
數字量的輸入信號類型總結:CPU 集成的輸入點和信號模板的所有輸入點都既支持漏型輸入又支持源型輸入,而信號板的輸入點只支持源型輸入或者漏型輸入的一種。
漏型輸入見模板接線圖,源型輸入接線參考下圖。
源型/漏型輸出接線說明
支持源型輸出的信號板:
6ES7 222-1AD30-0XB0
6ES7 222-1BD30-0XB0
6ES7 223-3AD30-0XB0
6ES7 223-3BD30-0XB0
6ES7 223-0BD30-0XB0
注意:所有支持源型輸出的晶體管輸出信號模塊都只支持源型輸出,不支持漏型輸出。
支持漏型輸出的信號板:
6ES7 222-1AD30-0XB0
6ES7 222-1BD30-0XB0
6ES7 223-3AD30-0XB0
6ES7 223-3BD30-0XB0
注意:數字量的輸出信號類型,只有 200 KHZ的信號板輸出既支持漏型輸出又支持源型輸出,其他信號板、信號模塊和 CPU 集成的晶體管輸出都只支持源型輸出。
常見問題
為何SM1223已連接,信號輸出通道指示燈也亮,但無電壓輸出?
答:S7-1200擴展模塊輸出通道指示燈電源由總線提供,但信號輸出需要模塊供電,正確接線方式如下圖所示:
03模擬量模塊輸入輸出接線圖
SM1231 模擬量輸入
SM 1232 模擬量輸出
SM 1234 模擬量輸入/輸出
SB 1231 模擬量輸入(信號板)
SB 1232 模擬量輸出(信號板)
AI 連接傳感器接線方式
圖1. 4 線制傳感器
圖2. 3 線制傳感器
圖3. 2 線制傳感器
TC 信號模塊
TC 信號模塊接線
TC 信號板接線
RTD 信號模塊
RTD 信號模塊接線
RTD 信號板接線
(來源:網絡,版權歸原作者所有,侵刪)


返回頂部
刷新頁面
下到頁底